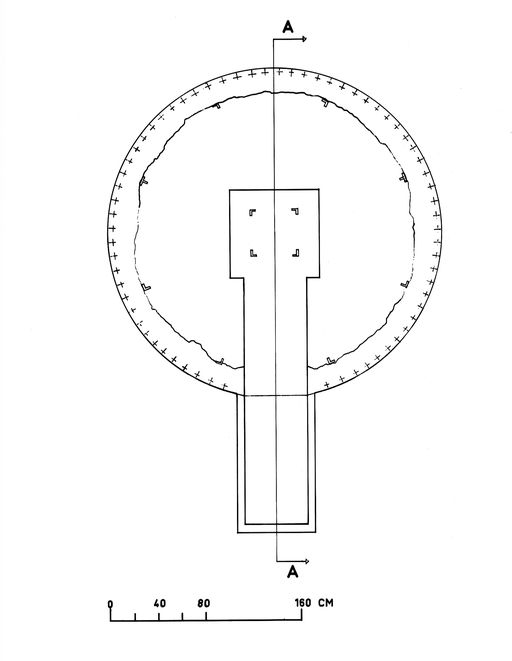
Poste de lancement de torpilles (pour torpille de type G7a modèle 1938 propulsée par air comprimé), au ras de l'eau, à l'ouest de la caserne défensive, Pointe Robert (Roscanvel),
Poste de lancement des torpilles à l'ouest de la batterie Robert, plan (Delaunay)Immatriculation
IVR53_19872900047P
Auteur du document reproduit
Auteur de l'illustration
Copyright
Diffusion
reproduction soumise à autorisation du titulaire des droits d'exploitation
Type
phototype argentique
Besoin d'informations sur cette illustration ?
Nous contacter
Informations techniques
-
Technique de relevé
- relevé manuel