Batteries de côte puis batterie antiaérienne française en 1955 (6 canons de 19 cm modèle 1875-1876, 4 canons G de 95 mm sur affût G de côte), (4 canons de 240 mm modèle 1903 TR, 4 canons de 95 mm en 1914) (4 canons de 10,5 cm) (Cr 340), Pointe de Tremet (Roscanvel),
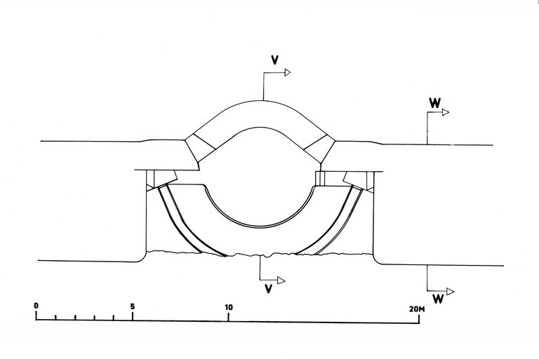
Plan d'un emplacement pour canon de 24 cm sur affût à pivot avant de la batterie de TremetImmatriculation
IVR53_19872900113PA
Auteur du document reproduit
Auteur de l'illustration
Copyright
Diffusion
reproduction soumise à autorisation du titulaire des droits d'exploitation
Type
phototype argentique
Besoin d'informations sur cette illustration ?
Nous contacter
Informations techniques
-
Technique de relevé
- relevé manuel