Fort et batteries (4 canons Marine de 24 cm modèle 1870 ; 4 canons de 16 cm modèle 1858-1860) puis batterie antiaérienne allemande (canons de 40 mm.) (Cr 308), Pointe de Lanvéoc (Lanvéoc),
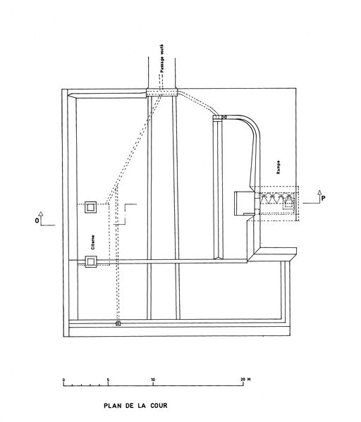
Plan de la cour du fort de Lanvéoc avec ses modifications du 4e quart du 19e siècle (citerne)Immatriculation
IVR53_19872900173PA
Auteur du document reproduit
Auteur de l'illustration
Copyright
Diffusion
reproduction soumise à autorisation du titulaire des droits d'exploitation
Type
phototype argentique
Besoin d'informations sur cette illustration ?
Nous contacter
Informations techniques
-
Technique de relevé
- relevé manuel