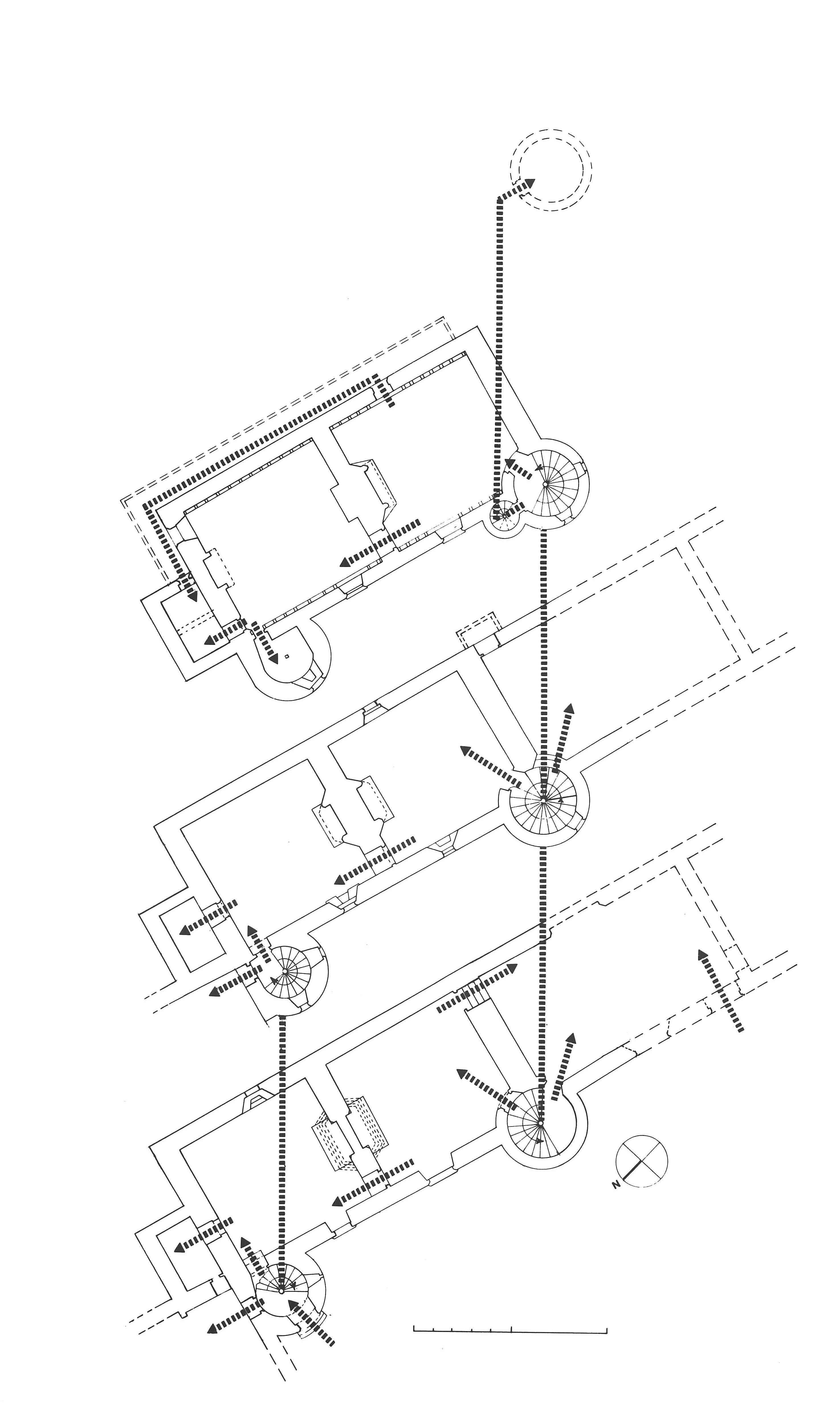
Manoir, Bodel (Caro),
Manoir : restitution du système de circulation dans le logis (état en 1992)Immatriculation
IVR53_19925601766P
Auteur du document reproduit
Auteur de l'illustration
Diffusion
reproduction soumise à autorisation du titulaire des droits d'exploitation
Type
phototype argentique
Besoin d'informations sur cette illustration ?
Nous contacter
Informations techniques
-
Technique de relevé
- relevé manuel
Dessinatrice à l'Inventaire