Bunker - casemate de type 676, Pointe de Roc'h Kroum (Roscoff),
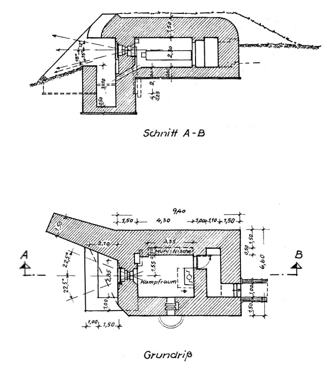
Plan-type d'un bunker de type 676 (Kleinstschartenstand für 4,7 cm FestungsPaK)Immatriculation
IVR53_20232905341NUCA
Auteur de l'illustration
Copyright
- (c) Collection particulière
Diffusion
reproduction soumise à autorisation du titulaire des droits d'exploitation
Type
phototype numérique
Sujets
blockhaus
casemate
poste d'observation
Besoin d'informations sur cette illustration ?
Nous contacter